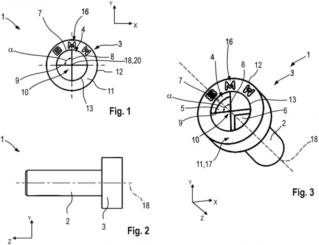
BMW vừa nộp hồ sơ bằng sáng chế cho một loại ốc vít đầu đặc biệt mang hình vòng tròn chia tư lấy cảm hứng từ logo BMW, với cấu tạo khiến dụng cụ thường dùng như tua vít hay lục giác tiêu chuẩn không thể tháo hay siết ốc này hiệu quả. Theo các bản vẽ trong hồ sơ, ốc vít được chia thành bốn phần, hai phần lõm và hai phần phẳng hoặc nhô cao tạo ra hình dáng bắt mắt nhưng cũng đòi hỏi một dụng cụ riêng biệt theo thiết kế riêng của BMW nếu muốn vặn mở.

Các ốc vít bản quyền này theo bằng sáng chế được BMW mô tả có thể được dùng ở những vị trí kết cấu và bán kết cấu trên xe, ví dụ như phần gắn ghế hoặc nơi giao nhau giữa nội thất và thân xe, những nơi thường cần tháo lắp khi sửa chữa hoặc bảo dưỡng. Do dụng cụ phổ thông không phù hợp với đầu ốc hình logo, điều này về thực tế có thể buộc cả các thợ độc lập lẫn chủ xe muốn tự sửa chữa phải sử dụng công cụ đặc biệt mà chỉ có ở đại lý hoặc chuỗi dịch vụ chính hãng.

Ý tưởng này đã gây tranh luận mạnh mẽ trên mạng xã hội và diễn đàn ô tô. Nhiều người dùng và những người yêu thích xe cho rằng nếu BMW đưa thiết kế này vào sản xuất đại trà, điều đó sẽ tăng sự phụ thuộc vào dịch vụ chính hãng và làm tăng chi phí sửa chữa, nhất là với những ai ưa thích tự bảo trì phương tiện của mình. Một số phản ứng còn nói đùa rằng các phiên bản công cụ tương thích sẽ sớm xuất hiện trên các nền tảng thương mại trực tuyến trước khi ốc vít này kịp được sử dụng rộng rãi.
Tuy nhiên, cần lưu ý rằng việc đăng ký bằng sáng chế không có nghĩa rằng BMW chắc chắn sẽ trang bị thiết kế ốc vít này trên xe sản xuất. Hãng ô tô thường nộp nhiều bằng sáng chế mà không đưa chúng vào xe thương mại, nên vẫn còn phải chờ xem liệu ý tưởng này có được triển khai thực tế hay chỉ dừng lại ở bản vẽ sáng chế.
(Theo VOV)